潍坊云海机械设备有限公司
全国服务热线:400-600-0877
联系人: 冯经理 13864611638
电 话:0536-3126558 0536-3126557
传 真:0536-3126228
技术部电话:0536-3697266 0536-3697277
技术部传真:0536-3698277
国际业务部邮箱:Darcywang1997@outlook.com
联系人:王经理 15621775783
地 址:山东临朐县杨善工业园冶泉路401号
咨询电话:400-600-0877
60秒人工响应
30分钟给予技术答复
24小时免费定制方案
潍坊云海机械设备有限公司始建于2009年,主要产品工业自动化配料系统、电磁永磁除铁器、永磁磁选机、电磁振动给料机、皮带螺旋输送机、电磁滚筒、破碎机、包装机 、除尘器等系列产品。拥有设备齐全的实验室和化验室,聘请行业专家主持试验和化验工作,提供技术试验数据和研发依据,为各行业提供成功有效的除铁解决方案。
云海机械成立
磁电实力厂家
发明专利
产品覆盖
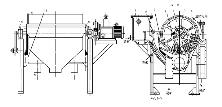
CTB(N、S)系列永磁湿式磁选机
产品介绍
CTB / CTS / CTN 永磁筒式磁选机,适用于矿山、选煤厂等单位,用于弱磁场湿式精选细颗粒的强磁性矿物,或者除去非磁性矿物中混杂的强磁性矿物。
该机有三种槽体:半逆流槽 (CTB)、顺流槽 (CTS) 和逆流槽 (CTN),分别适用于不同精选颗粒度及不同选择工艺的要求。该机磁路合理,并严格选用高矫顽力,高剩磁的永磁体,确保磁性在长时间内不降低,保障用户的长远利益,整体结构可靠耐用。

工作原理
▲采用稀土复合磁系,技术先进,结构合理。经过特殊设计使精选区和扫选区的磁场强度分布更加合理,分选效果比较明显。
▲槽体经过特殊设计,不易堵料,跑料。
▲筒体两端采用耐磨铝质法兰 ; 滚筒表面衬有耐磨材料,耐磨性能好,使用寿命长。
▲采用摆线减速机,体积小、重量轻、耗电少。
▲结构简单、处理量大、操作简单、易于维护。

技术参数
| 型 号 | 圆筒尺mm | 筒表面磁感应强度 | 处 理 能 力 | 电机功率 | 筒体转速r/min | 机器总重 kg | |||
| 平均值 | 扫选区 | 中场强磁场 | t/h | m3/h | |||||
| CTB-44 | 400×400 | 130 | 180 | 250-400 | 1-2 | 4-5 | 1.1 | 45 | 350 |
| CTB-46 | 400×600 | 130 | 180 | 250-400 | 2-3 | 5-10 | 1.1 | 45 | 600 |
| CTB-63 | 400×300 | 140 | 180 | 250-400 | 3-5 | 8-15 | 1.1 | 40 | 600 |
| CTB-66 | 400×600 | 140 | 180 | 250-400 | 5-10 | 10-30 | 1.1 | 40 | 750 |
| CTB-69 | 600×900 | 180 | 180 | 250-400 | 8-15 | 20-50 | 1.1 | 40 | 910 |
| CTB-612 | 600×1200 | 140 | 180 | 250-400 | 10-20 | 25-60 | 2.2 | 40 | 1050 |
| CTB-618 | 600×1800 | 140 | 180 | 250-400 | 15-30 | 40-80 | 2.2 | 40 | 1340 |
| CTB-712 | 750×1200 | 160 | 200 | 300-500 | 15-30 | 40-80 | 3 | 35 | 1500 |
| CTB-718 | 750×1800 | 160 | 200 | 300-500 | 20-45 | 60-100 | 3 | 35 | 2100 |
| CTB-918 | 900×1800 | 170 | 200 | 300-600 | 25-55 | 70-120 | 4 | 28 | 2900 |
| CTB-924 | 900×2400 | 170 | 200 | 300-600 | 35-70 | 80-130 | 4 | 28 | 3600 |
| CTB-1018 | 1050×1800 | 180 | 220 | 300-700 | 40-75 | 110-160 | 5.5 | 22 | 4000 |
| CTB-1021 | 1050×2100 | 180 | 220 | 300-700 | 50-100 | 140-200 | 5.5 | 22 | 4500 |
| CTB-1024 | 1050×2400 | 180 | 220 | 300-700 | 60-120 | 170-260 | 5.5 | 22 | 5000 |
| CTB-1030 | 1050×3000 | 180 | 220 | 300-700 | 70-150 | 200-320 | 7.5 | 22 | 6300 |
| CTB-121 | 1200×1800 | 180 | 220 | 300-700 | 60-110 | 150-230 | 5.5 | 19 | 4900 |
| CTB-1224 | 1200×2400 | 180 | 220 | 300-700 | 70-130 | 80-300 | 7.5 | 19 | 5900 |
| CTB-1230 | 1200×3000 | 180 | 220 | 300-700 | 80-160 | 250-400 | 7.5 | 19 | 7200 |
| CTB-1530 | 1500×3000 | 180 | 220 | 300-700 | 100-180 | 290-480 | 11 | 14 | 8900 |
| CTB-1540 | 1500×4000 | 180 | 220 | 300-700 | 115-220 | 300-540 | 11 | 14 | 9900 |
产品图片




现场安装



